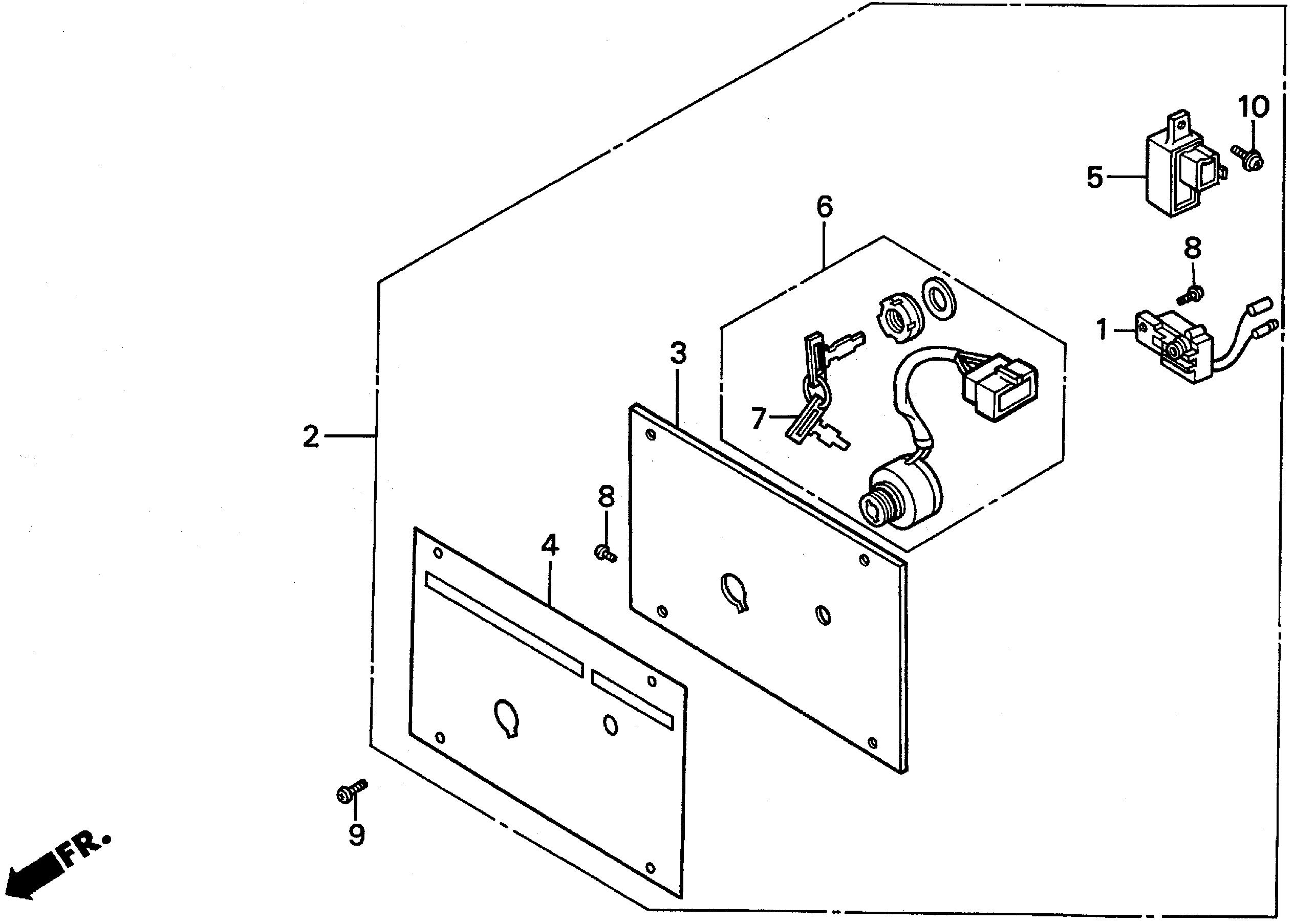
Generators EXW EXW171 EXW171S A EB5-1000001-9999999 ENGINE SWITCH PANEL - Honda Town

Ref No
Part Number
Description
Serial Range
Qty
Price

Ref No
1
Part Number
15520-ZC2-003
Description
ALERT UNIT, OIL (NOT AVAILABLE)
Serial Range
1000001 - 9999999

Ref No
2
Part Number
31470-ZB8-831
Description
PANEL ASSY., ENGINE SWITCH (EXW-A)
Serial Range
1000001 - 9999999

Ref No
3
Part Number
31472-ZB7-811
Description
PANEL, ENGINE SWITCH (EXW-N)
Serial Range
1000001 - 9999999

Ref No
4
Part Number
31476-ZB7-830
Description
PLATE, ENGINE SWITCH INDICATION (EXW-A)
Serial Range
1000001 - 9999999

Ref No
5
Part Number
31710-ZB7-701
Description
DIODE ASSY.
Serial Range
1000001 - 9999999

Ref No
6
Part Number
35100-ZA0-013
Description
SWITCH ASSY., COMBINATION
Serial Range
1000001 - 9999999

Ref No
6
Part Number
35100-ZA0-023
Description
SWITCH ASSY., COMBINATION
Serial Range
1000001 - 9999999
Qty
Price
$112.90

Ref No
7
Part Number
35111-880-013
Description
KEY (HONDALOCK)
Serial Range
1000001 - 9999999
Qty
Price
$11.16

Ref No
8
Part Number
93500-04008-0H
Description
SCREW, PAN (4X8)
Serial Range
1000001 - 9999999
Qty
Price
$1.10

Ref No
9
Part Number
93500-05010-0G
Description
SCREW, PAN (5X10)
Serial Range
1000001 - 9999999
Qty
Price
$1.10

Ref No
10
Part Number
93893-04012-08
Description
SCREW-WASHER (4X12)
Serial Range
1000001 - 9999999
Qty
Price
$1.64

Ref No
10
Part Number
93893-04012-18
Description
SCREW-WASHER (4X12)
Serial Range
1000001 - 9999999