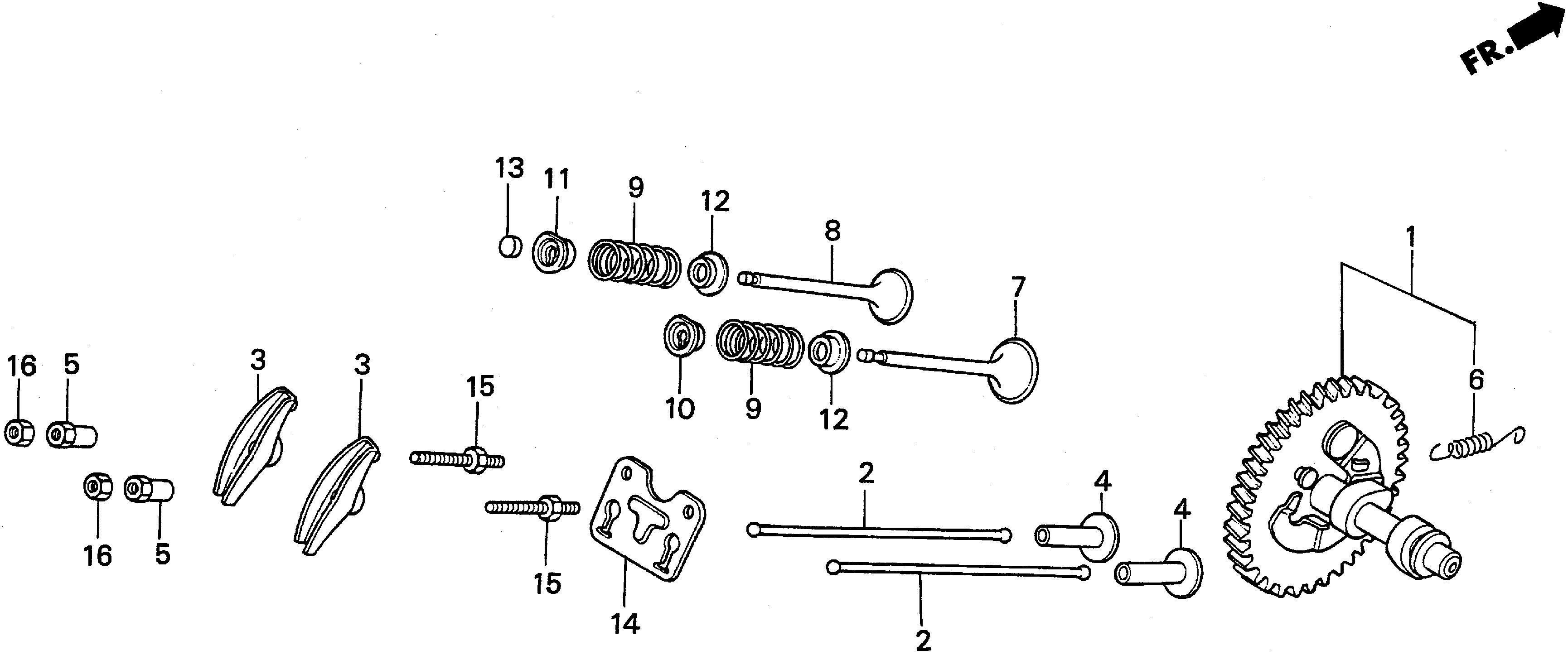
Generators EXW EXW171 EXW171S A EB5-1000001-9999999 CAMSHAFT - Honda Town

Ref No
Part Number
Description
Serial Range
Qty
Price

Ref No
1
Part Number
14100-ZE3-000
Description
CAMSHAFT ASSY.
Serial Range
1000001 - 1421332

Ref No
1
Part Number
14100-ZE3-010
Description
CAMSHAFT ASSY.
Serial Range
1421333 - 9999999

Ref No
2
Part Number
14410-ZE3-013
Description
ROD, PUSH
Serial Range
1421333 - 9999999
Qty
Price
$7.80

Ref No
3
Part Number
14431-ZE2-000
Description
ARM, VALVE ROCKER
Serial Range
1421333 - 9999999

Ref No
3
Part Number
14431-ZE2-010
Description
ARM, VALVE ROCKER
Serial Range
1000001 - 9999999
Qty
Price
$8.92

Ref No
4
Part Number
14441-ZE2-000
Description
LIFTER, VALVE
Serial Range
1000001 - 9999999
Qty
Price
$16.42

Ref No
5
Part Number
14451-ZE1-003
Description
PIVOT, ROCKER ARM
Serial Range
1000001 - 9999999
Qty
Price
$6.16

Ref No
6
Part Number
14568-ZE1-000
Description
SPRING, WEIGHT RETURN
Serial Range
1000001 - 9999999
Qty
Price
$3.24

Ref No
7
Part Number
14711-ZE3-000
Description
VALVE, IN.
Serial Range
1000001 - 9999999
Qty
Price
$22.54

Ref No
8
Part Number
14721-ZK6-800
Description
VALVE, EX.
Serial Range
1000001 - 9999999
Qty
Price
$77.32

Ref No
9
Part Number
14751-ZE2-003
Description
SPRING, VALVE
Serial Range
1000001 - 9999999
Qty
Price
$5.32

Ref No
10
Part Number
14771-Z8S-000
Description
RETAINER, IN. VALVE SPRING
Serial Range
1000001 - 9999999
Qty
Price
$2.28

Ref No
10
Part Number
14771-ZE2-000
Description
RETAINER, IN. VALVE SPRING
Serial Range
1000001 - 9999999

Ref No
11
Part Number
14773-ZE2-000
Description
RETAINER, EX. VALVE SPRING
Serial Range
1000001 - 9999999

Ref No
12
Part Number
14775-ZE2-010
Description
SEAT, VALVE SPRING
Serial Range
1000001 - 9999999
Qty
Price
$3.68

Ref No
13
Part Number
14781-ZE2-000
Description
ROTATOR, VALVE
Serial Range
1000001 - 9999999
Qty
Price
$5.64

Ref No
14
Part Number
14791-ZE2-010
Description
GUIDE, PUSH ROD
Serial Range
1000001 - 9999999
Qty
Price
$4.14

Ref No
15
Part Number
90012-ZE0-010
Description
BOLT, PIVOT (8MM)
Serial Range
1000001 - 9999999
Qty
Price
$8.18

Ref No
16
Part Number
90206-ZE1-000
Description
NUT, PIVOT ADJUSTING
Serial Range
1000001 - 9999999